For those using the Enfield Gearbox - how to replace the kickstarter pawl:
Replacing a Kick Starter Pawl.
Kick starter pawl replacement is one of those jobs that most would dread when faced with a free swinging lever and no previous experience of gearbox work. Fear not; this job is simple enough to contemplate doing at the roadside or at least in a quiet car park when faced with a 5 hour wait for the recovery truck. (Petrol Bullets may be easy enough to bump start but diesels are another matter). With practice the whole job can be completed in 20 minutes.
Firstly you are going to need a new pawl – costs about £2.50 in 2009 and small enough to include in the road spares kit along with a set of ratchet springs.
If you are doing this at home and ordering parts then you should consider fitting a new gasket, mainshaft tab washer and possibly the kickstart shaft O ring. If you have had trouble with gear selection, then consider replacing the detent plunger.
If you have a sidestand then this will help a lot as it allows the bike to be leaned over at a nice angle for working on the gearbox. Find a small box to sit on – it saves a lot of knee wear
Remove kick start and gear leavers, disconnect the clutch cable and remove the outer cover (don’t be surprised then some water falls out). The machine screw that secures the little pressed steel cover for the clutch cable access must be removed completely – the lower one can be left in place. (3 minutes)
Remove the two nuts securing the gear selector ratchet outer plate and remove the ratchet mechanism including the arm from the selector shaft. (1 minute)
Remove the domed mainshaft bearing cover. Be aware the kickstart spring is under tension and held in place by the lower bolt securing the domed bearing cover. Do not remove the bolt in the middle of the inner case - it holds the inner kickstart stop and can be left in place. (1 minute)
Flatten the tab washer and remove the nut on the end of the mainshaft. Note that the nut is a LEFT HANDED THREAD. Lightly tap the end of the mainshaft if it's a bit tight on the inner race to remove the inner cover. Some oil may spill out – depends how full the gearbox was and how far over the bike is leaning on the sidestand. (2 minutes).
The pawl is fitted in the end of the kick starter stub shaft that comes away with the outer cover, press down the spring detent plunder and push out the pawl (NOTE which way round it fits, there is a groove for the sprung plunger to sit in). Don’t let go of the little plunger or it will disappear at escape velocity. Fit the new one and note how the plunger engages with the machined groove in the pawl to keep it in place. (3 minutes).
Total time expended = 9 minutes (and that was generous)
Reassembly
Make sure the selector lever engages with the inner gear operator as you put the cover on.
You might need to jiggle the kickstart shaft to get it to engage with the layshaft gear but don't push it through the inner cover or you will dislodge the pawl. Replace and tighten evenly the cover screws (4 minutes).
Replace the tab washer and mainshaft nut, bend over the tab. Replace the domed cover and the kickstarter spring. (5 minutes).
Replace the gear selector arm and ratchet mechanism, Push the top of the big spring at the back to engage the arm properly in the spring, the outer spring fits over the button on the backplate and secure the outer cover with the two nuts, (3 minutes).
Replace the outer cover, refit the clutch cable, and kick starter/ gear levers (3 minutes).
That’s a total of 15 minutes and that was really generous with the timescales so in total 24 minutes for the whole job.
Normally I spend more time looking for tools than actually doing work but you need remarkably few:
Screwdriver to fit the cover screws
Spanners/sockets to fit the mainshaft nut and ratchet outer cover nuts and undo the pinch bolts on the levers (I have used an adjustable – shock)
Small screwdriver to hold the plunger down and lever up the tab washer
Brick/rock soft hammer to persuade the mainshaft from the bearing
Pliers to fiddle the clutch cable nipple from the arm.
I can understand anybody’s reluctance trying this at the side of the road if never attempted before but after doing this once at home anyone should be comfortable attempting this is the pouring rain and windswept lay-by. (pack a small folding brolly for cover)
Notes:
You can test to see if all the gears work before replacing the outer cover (for the nervous types).
Make sure the inner cover faces are clean and use a bit of Wellseal to locate the gasket on the gearbox face.
If your miles from home then add about 50cc of engine oil to bring the oil level up to the level plug. If at home then to get the grease in, place the tin in a pan of boiling water (lid removed) to heat up, pour through a small funnel.
Using an electric screwdriver speeds things up a bit, but start and finish by hand.
Enfield 4 Speeders - Kickstarter Pawl Replacement
Moderators: Dan J, Diesel Dave, Crazymanneil, Stuart
- Diesel Dave
- Site Admin
- Posts: 1016
- Joined: Sat Dec 02, 2006 1:21 am
- Location: Essex, UK
- Contact:
-
Sphere
- I luv the smell of Diesel...
- Posts: 976
- Joined: Sun Dec 30, 2007 7:45 pm
- Location: Leiden, Holland
- Contact:
Re: Enfield 4 Speeders - Kickstarter Pawl Replacement
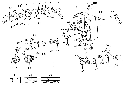
Parts:
36 140332 Plunger, Pawl
38 140333/B Pawl (Sintered)
I will add the other parts as I can make them out. Haven't found pics of tools yet.
http://www.jainenfield.com/cat/gears.html
36 140332 Plunger, Pawl
38 140333/B Pawl (Sintered)
I will add the other parts as I can make them out. Haven't found pics of tools yet.
http://www.jainenfield.com/cat/gears.html
'92 Enfield + Hatz 1B40: street legal, weld up stainless exhaust, check engine rpm and change final drive sprocket.